轴承知识
我国高速动车组轴箱轴承自主化初见曙光
2026-04-13——论我国高速动车组轴箱轴承自主化取得的成果和尚需解决的问题
作者:何加群
我国高速动车组列车已国产化,但其轴箱轴承仍全部依赖进口。高速动车组轴箱轴承自主化已成为国家重视、社会关注的国之大者。自2007年以来,国家有关部委,特别是国铁集团(原中国铁路总公司)组织实施了一系列高速动车组轴箱轴承的研发和创新项目,不断推进高速动车组轴箱轴承自主化的进程,已经取得了一系列重要成果,我国高速动车组轴箱轴承自主化初见曙光。但是,还有一些问题有待解决。本文就此作一简要论述。
一、我国高速动车组轴箱轴承自主化取得重要进展
(一)高速动车组轴箱轴承国产化应用的准入程序
高速动车组轴箱轴承作为一种安全性要求很高的产品,国产化应用须经过两项程序:科研程序和认证程序。
1、科研程序
按铁总科技[2014]68号文《中国铁路总公司科技成果评价管理办法》的规定进行(近年,对其中试用考核加严了要求)。
(1)立项:由国铁集团科信部正式立项。
(2)技术方案评审:对经过充分研发形成的技术方案(设计图纸)、技术条件(标准)进行评审。
(3)试用(试验)评审:对通过技术方案评审后试制的样品进行尺寸检测、理化检验、台架试验(包括80万公里耐久性试验),对各项检测和试验结果进行评审。
(4)试用考核:对通过试用评审的产品,在非载客的高速动车组综合检测车上进行运行试用考核。
(5)技术评审:通过试用考核后,进行技术评审。
2、认证程序
通过科研程序的技术评审后,可进入产品认证程序(CRCC认证程序)。
认证程序按铁总科技[2014]135号文《中国铁路总公司铁路专用产品认证管理办法》进行。
(1)对生产企业进行检查。
(2)由具备计量认证(CMA)资质的检测机构对现场产品进行抽样检测试验。
(3)专家综合评价。
综合评价通过后发放铁路产品认证证书,产品装车应用方正式准入。
(二)我国高速动车组轴箱轴承自主化迈出重要的步伐
2016年,国铁集团启动了由中国铁道科学研究院牵头实施的“高速动车组轴箱轴承关键技术研究”重大专项(以下简称“重大专项”),洛轴、瓦轴、洛轴所(后改为中浙高铁)、河科大、四方所、兴澄钢厂、抚顺钢厂、中石化天津润滑油、隆轩橡塑、南京利德东方等17个单位为项目组成员单位。
自2016年起,重大专项项目组充分运用自2007年以来国家有关部委组织实施的十几项有关高铁轴承的研发和创新项目的成果,对高速动车组轴箱轴承的各项技术进行了全面的研究和相应的型式试验。进行了时速250公里复兴号高速动车组轴箱轴承的仿真设计、样品试制。并应用铁科院新近引进的世界一流的试验机对洛轴、瓦轴试制的时速250公里复兴号高速动车组轴箱轴承进行耐久性试验。2018年9月,顺利通过了80万公里耐久性试验考核。同时,对时速350公里复兴号,时速250公里、350公里和谐号高速动车组轴箱轴承进行了研发。
重大专项项目组的工作,为我国自主化高速动车组轴箱轴承进入装车应用的准入程序(科研程序、认证程序)打下了良好的基础。
2022年1月5日,国铁集团科信部组织召开了对重大专项项目组组织研发的时速250公里CR300复兴号动车组自主化轴箱轴承的试用评审会,时速250公里、350公里的CR400复兴号和CRH2A、CRH380A、CRH380B和谐号动车组自主化轴箱轴承的技术方案评审会。
会上,洛轴、瓦轴研制的时速250公里CR300复兴号动车组轴箱轴承通过了专家委员会的试用评审。铁科院金化所的“动车组轴箱轴承总体技术方案”、洛轴的“CR400动车组轴箱轴承技术方案”、瓦轴的“CRH2A、CRH380A 动车组轴箱轴承技术方案”和中浙高铁的“CRH380B动车组轴箱轴承技术方案”通过了专家委员会的技术方案评审,此后,可以按技术方案进行样品试制,样品试制出来后进行各项检测试验和80万公里耐久性台架试验,各项检测和试验通过后可进行试用评审。通过试用评审后,即可在综合检测车上装车试用考核。
在本次会议上,国铁集团科信部作出了自主化高速动车组轴箱轴承在高速动车组综合检测车上装车试用考核周期的新规定。新规定将大大缩短装车试用考核时间,加快高速动车组轴箱轴承自主化的进程。
二、我国高速动车组轴箱轴承自主化取得的成果
(一)研发和创新成果
1、技术上的突破
(1)产品设计
我国铁路运行环境复杂,东西南北环境差异大,湿热(北京-广州)、低温(哈尔滨-大连)、风沙(兰州-乌鲁木齐)环境对高铁车辆提出更高的要求,也使得作为 铁路车辆驱动系统核心部件—轴承的服役条件变得尤为苛刻。
国内有关企业采集并编制了符合我国国情和高铁实际运行工况的高速动车组轴承载荷谱,参考进口轴承应用情况的分析资料和进口轴承在我国高铁使用中发生故障的轴承的失效模式的分析结果,开展静力学仿真分析、产品数字化建模;采取正向设计与逆向设计相结合的方式,进行产品整体结构优化设计和微观结构优化设计,包括套圈和滚动体工作表面凸度修型、滚动体球基面与挡边接触状态、各工作表面硬度和粗糙度匹配等,以最大限度地降低应力集中,减少高风险点。
(2)钢材
研发了制造高速动车组轴箱轴承内外圈的渗碳轴承钢DZC1,其技术指标相当于GB/T3203-2016《渗碳轴承钢》标准规定的高级优质钢。研发了制造高速动车组轴箱轴承滚子的高碳铬轴承钢DZC2,其技术指标相当于GB/T18254-2016《高碳铬轴承钢》标准规定的特级优质钢。
(3)保持架
研制了采用25%玻璃纤维增强聚酰胺66制造的保持架,具有强度高、抗冲击、摩擦系数低、自润滑、安全应急性能良好的特点。保持架材料的拉伸强度、弯曲强度、缺口冲击强度、玻璃纤维含量、密度、熔点、红外光谱、外观及颜色均达到优质指标。
成品保持架的弯曲断裂力、窗孔拉伸断裂力、水含量及保持架外部尺寸和外观、内部质量、径向游动量、旋转灵活性力求最优化。进行了保持架的力学性能和疲劳性能的型式试验。
(4)密封组成
研制了丁腈橡胶、钢骨架的密封组成。开发了密封粘接性能良好、高低温下性能稳定的制造密封组成的胶料。胶料的硬度、拉伸强度、拉断伸长率、密度、撕裂强度、压缩永久变形、回弹性、低温回缩温度、热空气老化性能、耐使用润滑脂介质性能均达到优质技术性能指标。
研发设计了低摩擦力矩、防水防尘防漏脂、低温升、利于润滑脂循环润滑的密封结构。同时,研究了橡胶的硫化粘接技术和金属表面处理技术,保证了橡胶与金属的粘接质量,提高密封件的使用寿命。进行了研制的密封组成的防粉尘、密封材料性能、密封组成耐久性、密封组成喷泥水、密封组成高低温扭矩等型式试验。
(5)润滑脂
在摩擦学研究的基础上,研究了轴承润滑状态、油膜厚度、接触区域演化、摩擦磨损的动态行为规律,研发了适用于高速动车组轴承的高效润滑脂,提供了保证轴承安全运行的润滑条件。研发的润滑脂兼具高低温性能,综合性能良好。采用了多组分稠化剂、复配基础油及多效添加剂。
研制的润滑脂的工作锥入度、滴点、腐蚀及防腐蚀、钢网分油、水分、蒸发量、水淋流失量、相似粘度、极压性能、抗磨性能、氧化安定性、滚筒安定性、杂质含量、橡胶相容性、基础油黏度、基础油苯胺点、基础油凝点等技术要求力求最优化。进行了润滑脂的机械稳定性、台架热性能、加速老化耐久性、FAG FE8抗磨性能、FAG FE9台架寿命、低温性能、常规理化性能等型式试验。
(6)台架试验
设计制造了高速动车组轴箱轴承耐久性试验台、防水密封试验台、防尘密封试验台和综合性能试验台,编制了相应的试验技术规范,按规范对试制的高速动车组轴箱轴承样品进行了耐久性试验、防水密封试验、防尘密封试验和综合性能试验。近年来我国高速动车组轴箱轴承耐久性台架试验情况见表1。

(7)示范生产线
洛轴、瓦轴、中浙高铁投资近5亿元,组建了高速动车组轴箱轴承示范生产线。生产线的生产能力已超过国内高速动车组轴箱轴承的需求量。示范生产线达到了国际先进水平。关键工序采用了国际上最先进的设备,如意大利NOVA公司的套圈磨加工设备、德国默德尔公司的滚子外圆磨加工设备、日本西部公司的滚子球基面磨床等。
2、产品水平
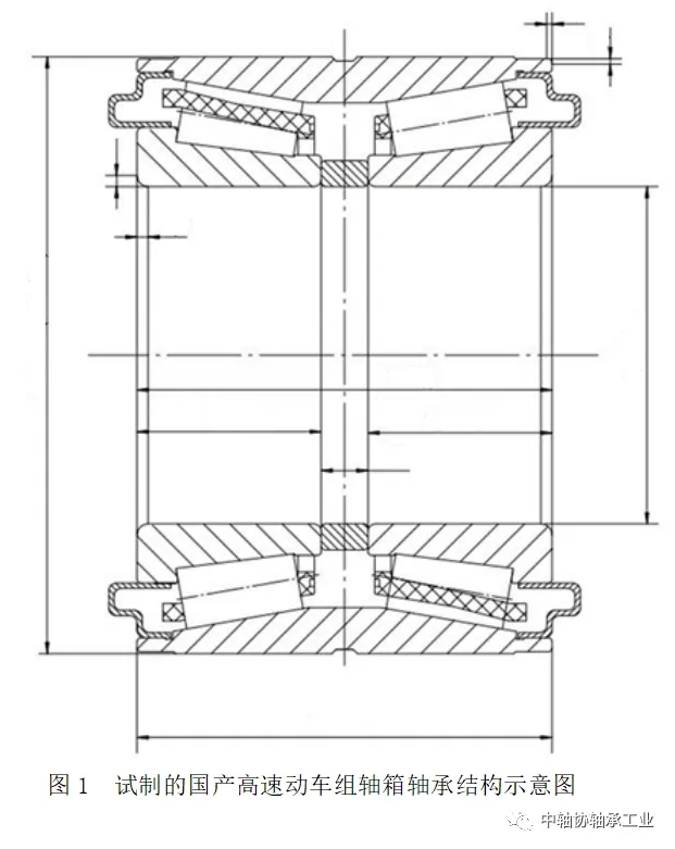
试制的自主化高速动车组轴箱轴承为自密封双列圆锥滚子轴承。(如图1)

由于以上技术上的突破,试制的产品技术指标达到国外同类产品的水平:
•精度P4级
•轴重
027-88607606

